F00-F99
Ⅴ. Mental and behavioural disorders
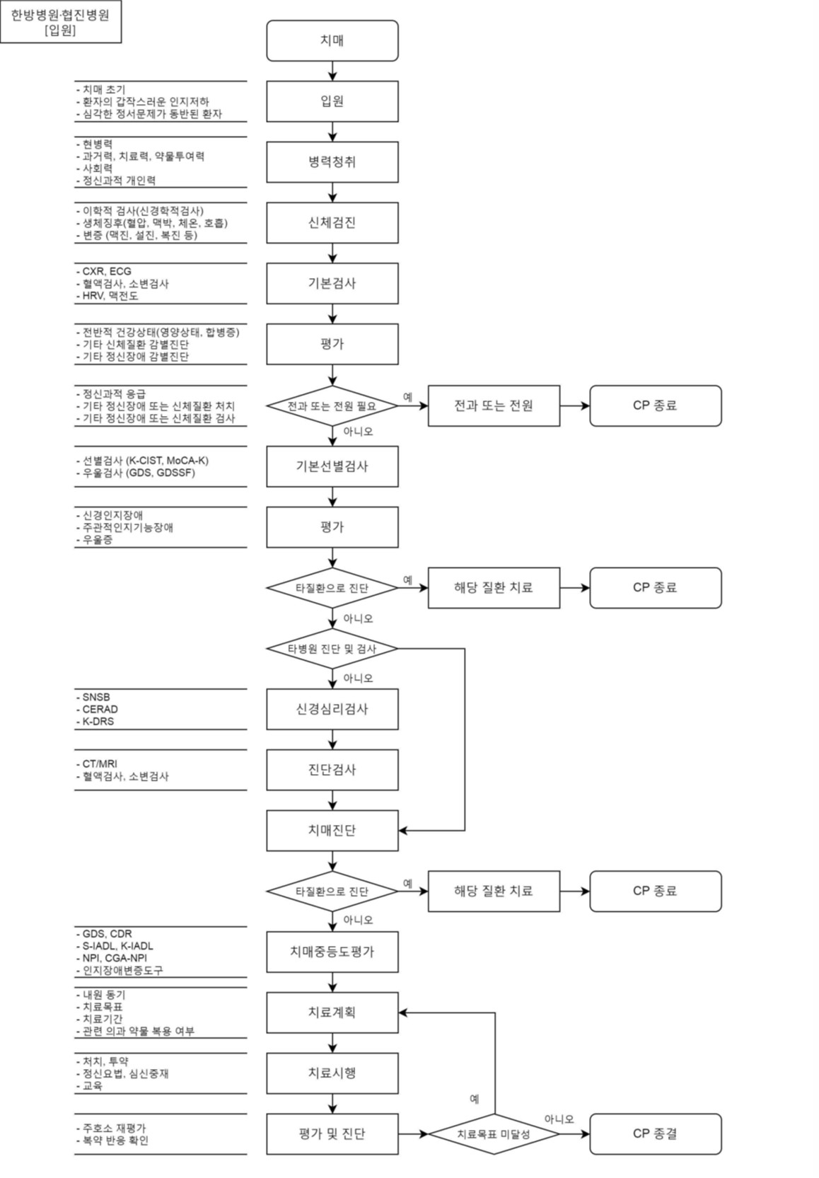
Dementia Collaborative Treatment Critical Pathways
[ Primary Code : F00, F06.7 / Secondary Code : F01 ]
[ Primary Code : F00, F06.7 / Secondary Code : F01 ]

Dementia Collaborative Treatment Time-Task Matrix
[ Primary Code : F00, F06.7 / Secondary Code : F01 ]
[ Primary Code : F00, F06.7 / Secondary Code : F01 ]












